其他服務商企業郵箱搬家流程如果您正在使用其他服務商的郵局系統,需要遷移到我司,請您按照以下流程進行遷移操作。 郵箱搬家需保持新購郵箱的域名與原來郵箱的郵箱賬戶信息一致,不一致可能會出現搬家失敗的情況。 郵箱搬家準備工作: 需要先獲取其他服務商郵箱的帳號密碼(至少一個),其他服務商郵箱的imap/pop3服務器別名,這樣才能完成下面的搬家設置 1、請先在我司購買一個企業郵局,購買時請填寫原郵局域名。如果您原來的賬號數量是5個,這里請購買5個,如果原來賬戶數量是500個,這里請選擇500個。
2、登錄新購買的企業郵局,創建郵箱賬號。郵箱賬號必須和原郵箱賬號保持一致。 手工創建賬戶時: 參考教程:http://www.yunyou.top/help/detail?id=12 批量導入用戶時: 參考教程:http://mail.yunyou.top/help/detail?id=47 3、域名解析。http://m.shinetop.cn/faq/list.asp?unid=21 , 按此說明修改域名解析,以便在新的郵局上盡快恢復正常收發。如果不知道原imap地址,建議先操作步驟4搬家后操作步驟3修改域名解析 如果用戶原來是用foxmail/outlook等客戶端軟件收發或不需要保留郵件的,不需要搬家。 如果用戶需要保留原來的歷史郵件,再用搬家功能,繼續第4步操作。 先確定好遷移郵箱時間(建議避開郵件收發的高峰時間),并提前通知郵箱所有用戶,郵箱即將遷移到新的郵局,解析生效后請使用新的郵局收發郵件。如使用客戶端收發郵件的,建議在解析生效之前暫停使用客戶端來收發郵件,以免因為解析變更漏收漏發。可以通過http://www.yunyou.top/login登錄修改初始密碼,并管理郵箱和收發郵件。 4、開始遷移郵件,請使用postmaster賬戶登錄到企業郵局,進入“郵局管理”。點擊“郵箱搬家”。
5、在郵箱搬家里填寫指定的信息,來添加要搬家的郵箱。填寫完成后點擊“下一步”。 舊郵箱域名:此項請保持不變,就是當前域名。 舊郵箱賬號/密碼:請填寫一個舊郵箱的賬號和對應密碼,用來測試是否可以正常連接。(不一定需要用postmaster賬號)。 連接信息:選擇imap方式,填寫原郵局服務商提供的imap地址。 常見企業郵箱IMAP設置信息:http://m.shinetop.cn/faq/list.asp?unid=2132
6、填寫搬家賬號并啟動搬家功能。 如您不知道所有用戶名和密碼:請保持默認選擇“用戶前臺自行輸入密碼啟動搬家”。 如果您知道所有用戶名和密碼:請選擇“代用戶輸入用戶密碼啟動搬家”,用戶名和密碼用空格隔開,每行填寫一個用戶名和密碼。 搬家時間默認設置為1個月,如不清楚搬家郵件量,建議不要修改。
如用戶或密碼輸入錯誤,搬家將會失敗。 3000封以內的郵箱,正常情況下24小時可以搬家完成, 3000<郵件量<25000封,正常情況下7個工作日內搬家完成。 7、郵箱搬家啟動后,會顯示此頁面,可點擊“查看搬家狀態”來了解郵件搬家的進度。
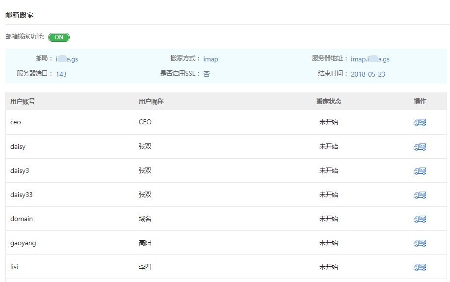
8、這里可以顯示所有正在搬家的賬戶,狀態顯示還未開始。
9、用戶郵箱管理會彈出提醒,管理員已經啟動“郵箱搬家”,將幫您導入舊郵箱郵件。點擊“開始搬家”。 點擊后系統會彈出提示框,提示輸入舊郵箱密碼,輸入后正式開始搬家。
如提示下圖報錯,請檢查輸入密碼是否正確,或IMAP功能是否正常。
10、正式開始搬家時,系統會顯示為如下:
11、搬家完成后,系統會顯示如下提示:
管理員郵箱搬家界面也會有相應提示。
12、當所有用戶都搬家完成時,您也可以手動關閉郵箱搬家功能。
|
|||||
| >> 相關文章 | |||||












